不少人開車喜歡聽車載音樂,或者聽收音機,這些都需要汽車播放器來播放。汽車播放器的環境溫度試驗方法可以參考QC/T 949-2013標準。下面,我們大家一起來認識一下汽車播放器的環境溫度試驗。

汽車播放器環境溫度試驗方法步驟如下:
1.高溫工作:
樣品放置在(70±2)℃的恒溫條件下,接通電源持續工作24h,然后放置在室溫,進行性能試驗,應符合本標準相關要求。
2.高溫儲存:
樣品不通電,在溫度為(90±2)℃的恒溫條件下放置24h,然后放置在室溫恢復2h后進行外觀、功能及性能試驗,應符合本標準相關要求。
3.低溫工作:
樣品在溫度為(-30±2)℃的恒溫條件下不通電放置2h后,接通電源能正常持續工作24h,然后放置在室溫中恢復2h后進行性能試驗,應符合本標準相關要求。可采取措施防止凝露。
4.低溫儲存:
樣品在( -40±2)℃的恒溫條件下放置24h,然后放置在室溫恢復2h后進行外觀、功能檢查及性能試驗,應符合本標準相關要求。
5.交變濕熱:
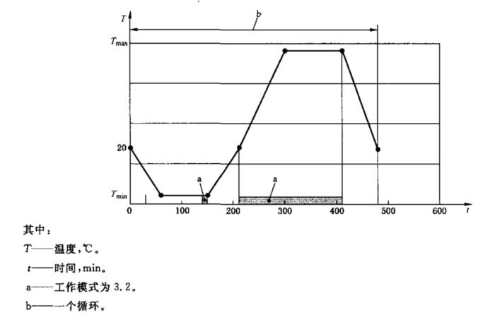
將樣品放置在恒溫恒濕試驗箱中,按下圖的規定進行5個周期交變濕熱循環試驗,每個周期約24h,試驗后,樣品從試驗箱中取出放置在室溫中恢復2h后,進行外觀,功能檢查及性能試驗,應符合本標準相關要求。

6.溫度循環:
樣品放入試驗箱中,按下圖的要求進行,(-30±2)℃ ,(70±2)℃分別為最低工作溫度、最高工作溫度,共進行5個循環試驗,試驗中,應防止結露。5個循環后,取出樣品放置在室溫中恢復2h后進行外觀、功能檢查及性能試驗,應符合本標準相關要求。

以上1-6實驗可以使用“恒溫恒濕試驗箱”來完成,下面的溫度沖擊試驗可以使用“冷熱沖擊試驗箱”或“快速溫度變化試驗箱”來完成。
7.溫度沖擊:
樣品放置在冷熱沖擊試驗箱中,按下圖的要求進行5個周期溫度沖擊循環試驗,每個周期約8h,其從Tmin(-40℃)升到Tmax(+85℃)時間不超過3min,并分別在(-40℃)保持240min ,在(+85℃)保持240min。
試驗后,取出樣品放置在室溫中恢復2h后進行外觀,功能檢查及性能試驗,應符合本標準相關要求。









